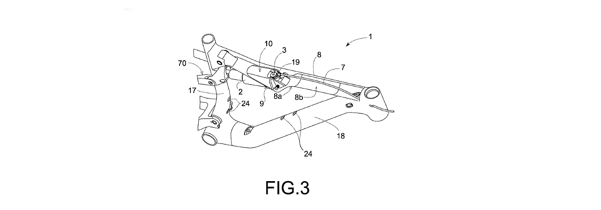
Orbea专利的后避震走线技术将授权按给Canyon使用,前者的“Inside Line”技术包含避震锁紧走线改进方案并提升美观程度。

Inside Line是与Fox合作为Orbea的Oiz越野自行车服务的产物,这种设计提高了后避震在车架中的整合度,且能保护线管和锁定机构不受污物影响,并将线管从头管连接到后避震,走线呈直线,最大限度地减少摩擦。
Orbea表示,他们会将技术授权所得收益投入Trail车型的研发。
编辑:HCY
图片:Orbea
Orbea专利的后避震走线技术将授权按给Canyon使用,前者的“Inside Line”技术包含避震锁紧走线改进方案并提升美观程度。

Inside Line是与Fox合作为Orbea的Oiz越野自行车服务的产物,这种设计提高了后避震在车架中的整合度,且能保护线管和锁定机构不受污物影响,并将线管从头管连接到后避震,走线呈直线,最大限度地减少摩擦。
Orbea表示,他们会将技术授权所得收益投入Trail车型的研发。
编辑:HCY
图片:Orbea
上一篇:DT Swiss将收购Trickstuff碟刹 后者将继续独立运营
下一篇:完美解决链条带来的痛点 盖茨皮带传动研发总监托德访谈